New Apple Patent Depicts MagSafe Charging Port and Cable for iPhone

Posted March 3, 2021 at 4:49pm by iClarified · 2285 views

A new Apple patent published yesterday appears to depict a MagSafe charging port and cable for iPhone.

The patent is entitled, "Magnetic surface contacts".

Apple describes why a MagSafe port is desirable.



"In an effort to progressively improve the functionality of a portable electronic device, new ways of configuring an accessory device are desirable. A variety of accessory devices are available that can augment the functionality of host electronic devices such as tablet computers, smart phones, laptop computers, etc. These accessory devices often include electronic circuitry and one or more embedded batteries that power the electronic circuitry. In many such devices the batteries can be charged by connecting an appropriate cable to a charging port. Such ports and the contacts positioned therein can be susceptible to damage, etc. Consequently, an accessory device with more robust and/or protected charging contacts is desirable."

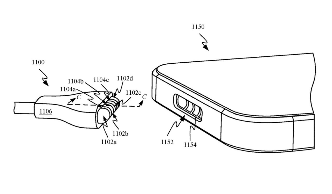
In one embodiment, Apple details what looks to be an iPhone with a MagSafe port where the Lightning port would usually be.

"FIG. 11A shows how connector plug 1100 has a pill-shaped protrusion that includes four electrical contacts 1102 and can be packaged with circuitry allowing for plug 1100 to be electrically coupled with receptacle connector 1152 of electronic device 1150 in either of two orientations. Plug 1100 can also include insulating material 1104 disposed between each electrical contacts 1102, which are operable to electrically isolate each of electrical contacts 1102 from each other. Similarly, receptacle connector 1154 includes an insulating material pattern corresponding to the arrangement of insulating material 1104. Both receptacle connector 1152 and plug 1100 can include magnets for facilitating a robust connection between connector plug 1100 and receptacle connector 1152. As described above, the magnets can be arranged in a complementary array configured to facilitate precise alignment of connector plug 1100 with receptacle connector 1152. In some embodiments, the pill-shaped protrusion of connector plug 1100 can be configured to extend and retract when approaching and drawing away from receptacle connector 1152."

This patent was filed in 2018 so its possible that Apple was working on multiple MagSafe implementations for the iPhone but ultimately decided on the large circular MagSafe charger that launched on the iPhone 12.

Check out the patent at the link below...

Read More [via PatentlyApple]


Follow iClarified