December 14, 2025
Apple Patents Method for Locating a Vehicle in a Parking Garage

Apple Patents Method for Locating a Vehicle in a Parking Garage

Posted April 25, 2013 at 7:18pm by
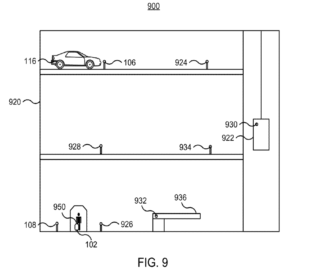
Apple has filed a patent for a method of locating a vehicle in a parking garage using a portable computer device such as the iPhone.

The iPhone would be able to communicate with a parking system that manages the structure in order to locate your vehicle. Communication between devices can be based on one or multiple connections such as Bluetooth or Bluetooth LE.

-
A portable computing device can, while in a parking structure, determine whether a vehicle associated with the portable computing device is currently in a parked state. If the vehicle is currently parked, the portable computing device can request and receive location information from a first set of one or more wireless sensors situated within the parking structure. Based on the received information, the portable computing device can determine a parking location for the vehicle. Thereafter, the portable computing device can be moved away from the parking structure, and subsequently returned.


Upon returning to the parking structure, the portable computing device can request and receive location information from a second set of one or more wireless sensors of the parking structure. The second set of wireless sensors can be situated in an area within the parking structure that is different from the area where first set is situated. Based on the received information, the portable computing device can determine its current location. Thereafter, the portable computing device can use its current location and the previously determined parking location for the vehicle to generate guidance information. The guidance information can be presented to a user in order to direct the user to the vehicle.
-

Read More [via AppleInsider]


Apple Patents Method for Locating a Vehicle in a Parking Garage

Apple Patents Method for Locating a Vehicle in a Parking Garage


Apple Patents Method for Locating a Vehicle in a Parking Garage
Add Comment
Would you like to be notified when someone replies or adds a new comment?
Yes (All Threads)
Yes (This Thread Only)
No
iClarified Icon
Notifications
Would you like to be notified when we post a new Apple news article or tutorial?
Yes
No
Comments (5)
You must login or register to add a comment...
justabrake
justabrake - April 26, 2013 at 9:21am
SIRI find my car ! Apple has one thing in mind and that is the one with the most patents wins
iPhoneEverything
iPhoneEverything - April 25, 2013 at 9:25pm
Its a good idea to just add to the already good phone apple trying to move into cars now
davidupa
davidupa - April 25, 2013 at 8:38pm
WTF this is that shocking new "breakthrough" ? Useless like passbook, nike+, newstand. Pathetic ....
Nuck Chorris
Nuck Chorris - April 26, 2013 at 4:09am
There's already a method for that.. it's called usung your brain.
Anuka
Anuka - May 5, 2013 at 4:29pm
After submitting my feabdeck, I received the message, "Thank for dogfooding the new Blogger iPhone App." There should be a "you" after "Thank". But also, why use such an unused phrase such as "dogfooding"? Your average person is not going to know what that means.Things that I would like in new versions:- Preview post as it will look when published (either in Editor or in Safari Mobile)- Hyperlink feature (we shouldn't have to add in any HTML code)- Filter down posts so we can only look at Drafts for instance- Sort posts so we can look at the most recent modified posts on the first page listing- View blog's Stats- Moderate Comments
Recent. Read the latest Apple News.
RECENT
Tutorials. Help is here.
TUTORIALS
AppleTV Firmware Download Locations
Where to Download macOS Sequoia
Where to Download macOS Sonoma
Where To Download iPad Firmware Files From
Where To Download iPhone Firmware Files From
Deals. Save on Apple devices and accessories.
DEALS