December 8, 2025
Apple Patents Digital Camera With Refocusable Imaging Mode Adaptor

Apple Patents Digital Camera With Refocusable Imaging Mode Adaptor

Posted November 26, 2013 at 9:24pm by iClarified
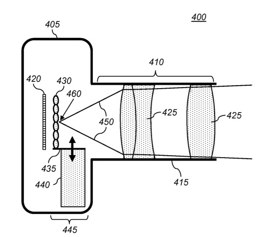
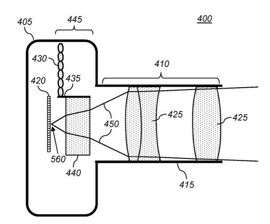
Apple has been awarded a patent for a digital camera that features a refocusable imaging mode adaptor that would let users refocus an image after it was captured. The functionality is similar to the Lytro camera currently on the market.

The camera would be able to operate in a lower-resolution mode that offers refocusing capability or in a high resolution mode that doesn't offer refocusing.

A digital camera system configurable to operate in a low-resolution refocusable mode and a high-resolution non-refocusable mode comprising: a camera body; an image sensor mounted in the camera body having a plurality of sensor pixels for capturing a digital image; an imaging lens for forming an image of a scene onto an image plane, the imaging lens having an aperture; and an adaptor that can be inserted between the imaging lens and the image sensor to provide the low-resolution refocusable mode and can be removed to provide the high-resolution non-refocusable mode, the adaptor including a microlens array with a plurality of microlenses; wherein when the adaptor is inserted to provide the low-resolution refocusable mode, the microlens array is positioned between the imaging lens and the image sensor.


Apple cites the Lytro camera in its patent as prior art but notes that its microlens array can product higher quality images due to its higher spatial resolution.

Notably, during his final months, Steve Jobs met with Lytro CEO Ren Ng to discuss the company's camera technology, according to the Inside Apple book by Adam Lashinsky. Also interesting, Jeremy Horwitz, Editor-in-Chief of iLounge.com, claimed last year that Apple was working on a standalone camera - the third of three industries Jobs wanted to change.

The patent describes the camera as preferably being a portable battery operated device, small enough to be easily handheld by a user when capturing and reviewing images. It's thought that Apple could be looking to implement this type of technology in the iPhone letting users refocus their images after they've been taken.

More details at the link below...


Read More [via MacRumors]


Apple Patents Digital Camera With Refocusable Imaging Mode Adaptor

Apple Patents Digital Camera With Refocusable Imaging Mode Adaptor
Add Comment
Would you like to be notified when someone replies or adds a new comment?
Yes (All Threads)
Yes (This Thread Only)
No
iClarified Icon
Notifications
Would you like to be notified when we post a new Apple news article or tutorial?
Yes
No
Comments (1)
You must login or register to add a comment...
gamerscul9870
gamerscul9870 - November 27, 2013 at 4:24am
Well done guys! The new flash just brightened me up!
Recent. Read the latest Apple News.
RECENT
Tutorials. Help is here.
TUTORIALS
Where to Download macOS Sequoia
Where to Download macOS Sonoma
AppleTV Firmware Download Locations
Where To Download iPad Firmware Files From
Where To Download iPhone Firmware Files From
Deals. Save on Apple devices and accessories.
DEALS