December 8, 2025
Apple Patents Apple Pencil That Can Sample Colors and Textures

Apple Patents Apple Pencil That Can Sample Colors and Textures

Posted January 3, 2023 at 5:29pm by iClarified
Apple has filed a patent for an Apple Pencil with built-in photodetectors and a light emitter that can be used to sample surface colors and textures.

The patent is entitled, 'Electronic Device With Optical Sensor For Sampling Surfaces'. It was filed on June 28, 2021 and published on December 29, 2022.

Here's how Apple describes the invention...


----
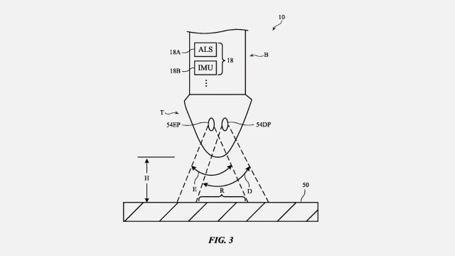
A device such as a stylus may have a color sensor. The color sensor may be used to sample the color of the surface of an external object. Texture measurements and/or other measurements on the appearance of the object may also be made. Measurements from the stylus may be transmitted wirelessly to a companion device such as a tablet computer (e.g., so that a sampled color or other attributes may be used in a drawing program or other software).

The color sensor may have a color sensing light detector having a plurality of photodetectors each of which measures light for a different respective color channel. The color sensor may also have a light emitter. The light emitter may have an adjustable light spectrum. The light spectrum may be adjusted during color sensing measurements using information such as ambient light color measurements. Arrangements in which the intensity of the light emitter is modulated during color sensing may also be used.

An inertial measurement unit may be used to measure the angular orientation between the stylus and an external object during color measurements. Texture may be measured using light that strikes the surface of the external object at glancing angles. Measurements from the stylus such as color sensor measurements, texture measurements, and associated angular orientation measurements may be transmitted wirelessly to external equipment.
----

Apple Patents Apple Pencil That Can Sample Colors and Textures


The ability to sample colors and textures with an Apple Pencil would be incredibly useful to artists and graphic designers. Of course, there are no promises that Apple will debut these features in the next generation Apple Pencil; however, we're hopeful that one day these capabilities will materialize.

Please download the iClarified app or follow iClarified on Twitter, Facebook, YouTube, and RSS for updates.

Read More [via Patently Apple]


Apple Patents Apple Pencil That Can Sample Colors and Textures
Add Comment
Would you like to be notified when someone replies or adds a new comment?
Yes (All Threads)
Yes (This Thread Only)
No
iClarified Icon
Notifications
Would you like to be notified when we post a new Apple news article or tutorial?
Yes
No
Comments
You must login or register to add a comment...
Recent. Read the latest Apple News.
RECENT
Tutorials. Help is here.
TUTORIALS
Where to Download macOS Sequoia
Where to Download macOS Sonoma
AppleTV Firmware Download Locations
Where To Download iPad Firmware Files From
Where To Download iPhone Firmware Files From
Deals. Save on Apple devices and accessories.
DEALS