November 8, 2025
Apple Patents 3D Gesture User Interface for Touchscreens

Apple Patents 3D Gesture User Interface for Touchscreens

Posted August 20, 2013 at 9:32pm by iClarified
Apple has filed a patent entitled 'Working with 3D objects' that describes techniques and systems that support generating, modifying, and manipulating 3D objects using 3D gesture inputs.

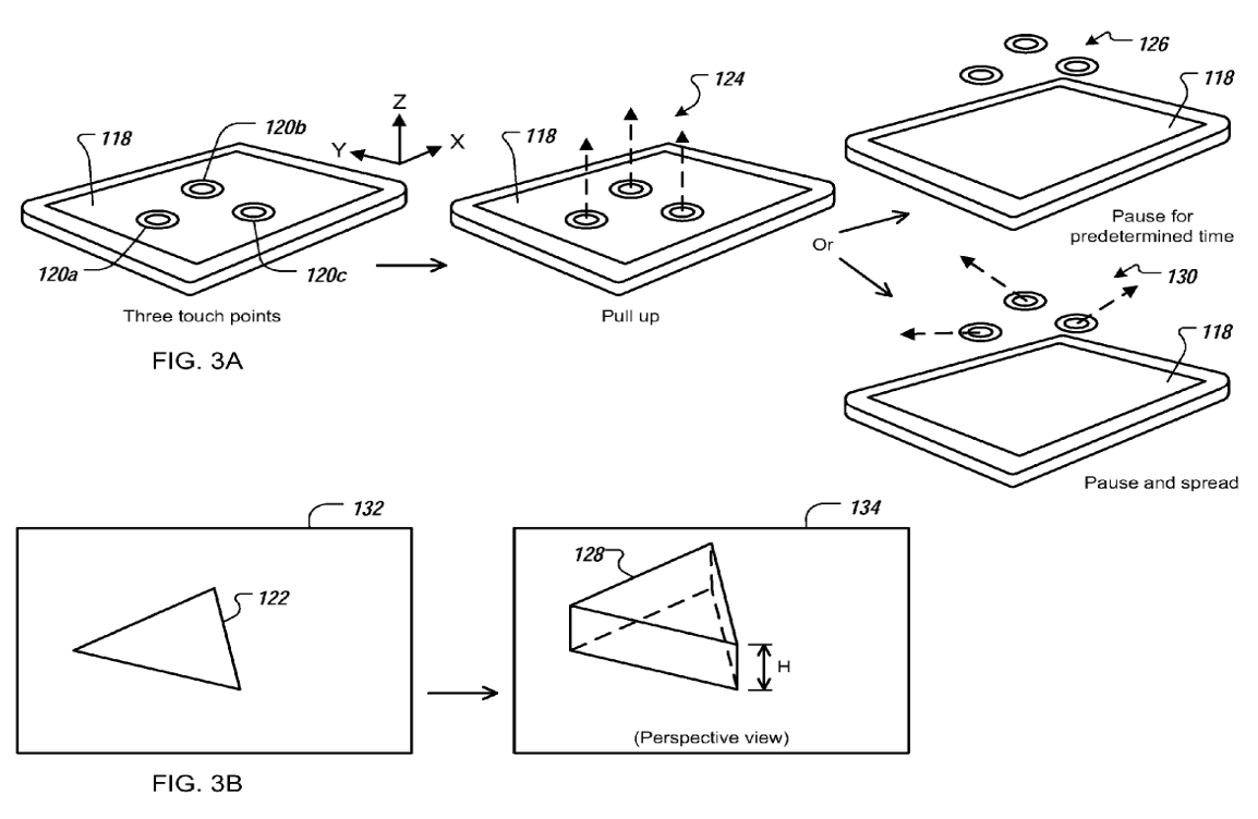
Three-dimensional objects can be modified using 3D gesture inputs. For example, a 3D object shown on a touch-sensitive display can be detected, and a 3D gesture input that includes a movement of a finger or a pointing device in proximity to a surface of the touch-sensitive display can be detected. Detecting the 3D gesture input can include measuring a distance between the finger or the pointing device and a surface of the display. The 3D object can be modified according to the 3D gesture input, and the updated 3D object can be shown on the touch-sensitive display.

For example, a first user input that includes at least one of a touch input or a two-dimensional (2D) gesture input can be detected, and a 3D gesture input that includes a movement in proximity to a surface can be detected. A 3D object can be generated in a user interface based on the 3D gesture input and at least one of the touch input or 2D gesture input.


Apple Patents 3D Gesture User Interface for Touchscreens

Apple also details how a touch sensor and proximity sensor could be used in combination to identify 3D gestures.

An apparatus for generating or modifying 3D objects can include a sensor to detect touch inputs, 2D gesture inputs that are associated with a surface, and 3D gesture inputs that include a movement perpendicular to the surface. A data processor is provided to receive signals output from the sensor, the signals representing detected 3D gesture inputs and at least one of detected touch inputs or detected 2D gesture inputs. The data processor generates or modifies a 3D object in a user interface according to the detected 3D gesture inputs and at least one of detected touch inputs or detected 2D gesture inputs.

Apple Patents 3D Gesture User Interface for Touchscreens


These features allow a user to quickly and intuitively generate, modify, and manipulate 3D objects and virtual 3D environments.

You can read the patent in far more detail at the link below...

Read More [via AppleInsider]


Apple Patents 3D Gesture User Interface for Touchscreens
Add Comment
Would you like to be notified when someone replies or adds a new comment?
Yes (All Threads)
Yes (This Thread Only)
No
iClarified Icon
Notifications
Would you like to be notified when we post a new Apple news article or tutorial?
Yes
No
Comments (5)
You must login or register to add a comment...
Tony Stark
Tony Stark - August 21, 2013 at 12:25pm
I had this 1st Apple just copying Jarvis ;-)
icla
icla - August 21, 2013 at 11:27am
I don't think it will be the same as Samsung. They're stand for a different purpose. This patent is about content creation which will definitely use some kind of special hardware similar to leap motion but thin enough that it can be in parallel with the display and something like that.
Latino Sin Zero
Latino Sin Zero - August 21, 2013 at 3:40pm
As soon as I saw this the first thing I thought was leap motion. I wonder how it will truly defer in the way that it is used.
Vic
Vic - August 21, 2013 at 8:28am
iPhone 10
Saul
Saul - August 21, 2013 at 12:05am
There's no way this is going to happen!!?!??? Can't wait. :)
Recent. Read the latest Apple News.
RECENT
Tutorials. Help is here.
TUTORIALS
Where to Download macOS Sequoia
Where to Download macOS Sonoma
AppleTV Firmware Download Locations
Where To Download iPad Firmware Files From
Where To Download iPhone Firmware Files From
Deals. Save on Apple devices and accessories.
DEALS