March 15, 2026
Apple is Working on a Way for iPhones to Capture 'Super-Resolution' Images

Apple is Working on a Way for iPhones to Capture 'Super-Resolution' Images

Posted May 8, 2014 at 5:57pm by
Apple is working on a way for iPhones to capture 'super-resolution' images based on optical image stabilization, according to recent patent application.

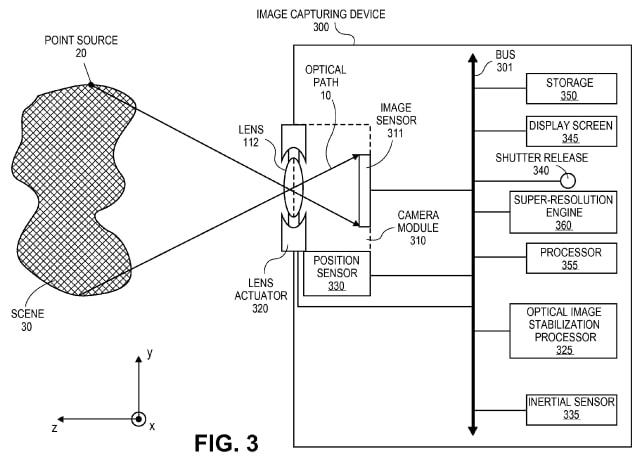
Apple notes that when stabilization is absent, captured images may be blurry based on movement of the camera during the capturing process. For example, a user holding a camera may involuntarily shake while capturing an image, resulting in a distorted image.


The proposed solution uses optical image stabilization to solve the problem. The OIS system varies the optical path to the sensor in response to movement of the camera, such as jittering by the user operating the camera.

A series of images are then taken at various optical offsets and combined to create a 'super-resolution' image.

In one embodiment, an electronic image sensor captures a reference optical sample through an optical path. Thereafter, an optical image stabilization (OIS) processor to adjusts the optical path to the electronic image sensor by a known amount. A second optical sample is then captured along the adjusted optical path, such that the second optical sample is offset from the first optical sample by no more than a sub-pixel offset. The OIS processor may reiterate this process to capture a plurality of optical samples at a plurality of offsets. The optical samples may be combined to create a super-resolution image.

More details can be found in the full patent application linked below...


Read More [via Jamie]


Apple is Working on a Way for iPhones to Capture 'Super-Resolution' Images
Add Comment
Would you like to be notified when someone replies or adds a new comment?
Yes (All Threads)
Yes (This Thread Only)
No
iClarified Icon
Notifications
Would you like to be notified when we post a new Apple news article or tutorial?
Yes
No
Comments (3)
Comments are closed for this article.
Andy
Andy - May 9, 2014 at 1:00am
Seriously ?!! ...think both Apple & Samsung are chasing Nokia !!
gamerscul9870
gamerscul9870 - May 9, 2014 at 1:11am
So they're cramming in 41 megapixels just to be plain clueless like them?
gamerscul9870
gamerscul9870 - May 8, 2014 at 6:08pm
Now galaxy has something to chase after.
Recent. Read the latest Apple News.
RECENT
Tutorials. Help is here.
TUTORIALS
Where to Download macOS Tahoe
Where to Download HomePod Firmware Files From
AppleTV Firmware Download Locations
Where To Download iPad Firmware Files From
Where To Download iPhone Firmware Files From
Deals. Save on Apple devices and accessories.
DEALS