December 5, 2025
Apple Sued for Text Completion

Apple Sued for Text Completion

Posted November 15, 2007 at 11:14am by iClarified
Delaware firm Autotext Technologies has filed a patent infringement lawsuit against 23 major technology companies including Apple and IBM, regarding predictive word processing.

BetaNews reports that Autotext is suing the following companies: Apple, AT&T, Helio, Hewlett-Packard, HTC America, IBM, Kyocera, LG Electronics USA, Microsoft, Motorola, Nintendo of America, Nokia, Nuance Communications, Palm, Qualcomm, Research In Motion, Samsung America, Sanyo North America, Sony, Sony Ericsson, T-Mobile, Verizon Wireless, and Zi Corporation.

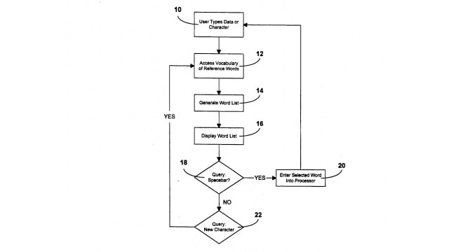
All companies listed in the lawsuit, Autotext alleges, are infringing on a "computer-based transcription" patent that was filed in 1994. The patent is loosely about predictive word processing, where a list of words is presented when a user begins to input letters, hence the Autotext nomenclature.


Most of the infringing devices are cellular handsets, but the non-phone instances are especially noteworthy. IBM's Lotus Notes, Qualcomm's Eudora 7.1 mail client, Mac's OS X 10.4 and Safari, Nuance's T9 system, and also Nintendo's Wii and Sony's PS3 all come into question in the suit.


Apple Sued for Text Completion
Add Comment
Would you like to be notified when someone replies or adds a new comment?
Yes (All Threads)
Yes (This Thread Only)
No
iClarified Icon
Notifications
Would you like to be notified when we post a new Apple news article or tutorial?
Yes
No
Comments
You must login or register to add a comment...
Recent. Read the latest Apple News.
RECENT
Tutorials. Help is here.
TUTORIALS
Where to Download macOS Sequoia
Where to Download macOS Sonoma
AppleTV Firmware Download Locations
Where To Download iPad Firmware Files From
Where To Download iPhone Firmware Files From
Deals. Save on Apple devices and accessories.
DEALS