December 5, 2025
Apple Patents an iPhone With a Wrap Around Display [Images]

Apple Patents an iPhone With a Wrap Around Display [Images]

Posted March 28, 2013 at 1:54pm by iClarified
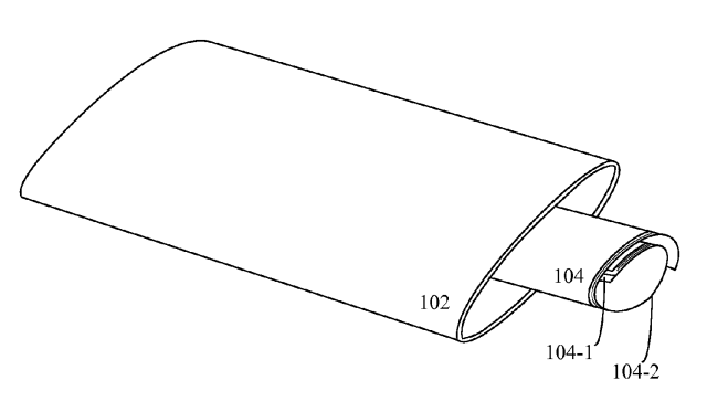
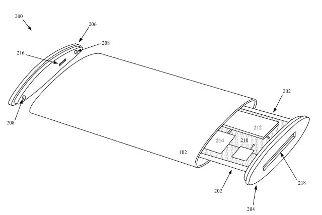
The USPTO has published a new Apple patent for an 'Electronic Device With Wrap Around Display'. The patent was filed on September 26, 2011 and published March 28, 2013.

The company describes how its wrap around display might work:

---
The majority of portable electronic device manufacturers utilize a common form factor consisting generally of a flat planar form factor with a single surface dedicated mainly for use as a display surface, while the other surfaces remain largely unused, save for the occasional button or switch. The conventional form factor has been used in devices such as smart phones, tablet devices, and electronic book readers. Although this form factor lends itself to electronic devices that are aesthetically pleasing and easy to handle, the requirement for a planar display and associated circuitry inherently limits the amount of surface area to single surface. More specifically, the size of the user interface is generally limited to a portion of the device that takes up less than half of the overall device surface area.


In one embodiment, utilizing a flexible display can provide additional viewing area without increasing either the size or shape of the electronic device. For example, a flexible display can be folded in such a way as to form a continuous loop such that images (still or video) can be presented in a wrap-around manner in which the images appear to be presented in a continuous loop. The flexible display can be folded into a tightly wound configuration and placed within an enclosure at least a portion of which is transparent. In some cases, the enclosure can be formed of glass at least a portion of which is made opaque (at least translucent) by the addition of ink or other masking material. In other cases, however, the entire enclosure can be fully transparent in which case the folded flexible display can unwind when placed within the glass enclosure. Once fully unwound, the flexible display can present images at any portion of the glass enclosure.
---

It will likely be a while before consumers see any products like this; however, it's interesting to see the type of futuristic devices Apple is investigating.

Check out the images below...

Read More [via AppleInsider]



Apple Patents an iPhone With a Wrap Around Display [Images]

Apple Patents an iPhone With a Wrap Around Display [Images]

Apple Patents an iPhone With a Wrap Around Display [Images]

Apple Patents an iPhone With a Wrap Around Display [Images]
Add Comment
Would you like to be notified when someone replies or adds a new comment?
Yes (All Threads)
Yes (This Thread Only)
No
iClarified Icon
Notifications
Would you like to be notified when we post a new Apple news article or tutorial?
Yes
No
Comments (14)
You must login or register to add a comment...
Dishguy
Dishguy - March 28, 2013 at 7:38pm
april fools is around the corner, and Apple has money to blow on patent jokes, so there you go.
thevmax
thevmax - March 28, 2013 at 6:12pm
If you can't build it, it shouldn't have a patent. As others above have mentioned, anybody can scribble something down on paper or napkin! You have an idea. I have an idea. You submit your idea on paper to the patent office. Meanwhile, I'm busy! I begin prototyping and finally building the idea. I go to the patent office and submit my prototype. I am not given a patent because you have one....This is how people with great ideas get suppressed. FOLLOW THE MONEY!
54aed8c
54aed8c - March 28, 2013 at 5:00pm
You have a point there... I just changed the design of my invention to only make it SEEM to them as if they blew me, so it's only gross for them. Thanks for the input, your check is in the mail.
Anthony
Anthony - March 28, 2013 at 6:09pm
LMAO!!! K dude, off to the patent office you go
ad
ad - March 28, 2013 at 3:56pm
LOL Patents Games. regardless if or if not a company can or can not make that particular design or not. Just patent it first.. soon or later still geting money from some one else if they actually could make it work.
BobbyMeyer
BobbyMeyer - March 28, 2013 at 2:52pm
The real challenge is patenting a prototype, every company has it's weakness and strengths. For instance there is no doubt that during the Steve Jobs era design and quality was a must. For some, it has changed a little bit ... Samsung on the other hand has it's strength in components. I'm not knowing it all, just objective and trying to be as objective as possible.
Anthony
Anthony - March 28, 2013 at 3:13pm
Agreed.... I just hope that this type of insight is still present when Samscum out right copy's this... BTW, did you see the most recent release from Samscum.... AppStore Clone of Google Play clone of...... This is getting embarassing.... http://www.cultofmac.com/221412/samsung-launches-copycat-app-store-to-combat-itunes-and-google-play/ Check that out
BobbyMeyer
BobbyMeyer - March 28, 2013 at 2:30pm
Sorry to disagree with the gentlemen preceding me but it is a vague concept that is being patented. Just because they have the money to do so. I'm sure that the idea has been thought of by any engineering student before, thinking of oled displays. Anybody can scribble something on paper
john
john - March 28, 2013 at 2:32pm
yes mister know it all.
Anthony
Anthony - March 28, 2013 at 2:41pm
We will let the Nay say'ers say Nay.... Everyone said that a glass touchscreen phone was rediculously impossible before that iphone, do you remember when #Apple changed the face of telecommunications a few years back? (No matter how you try and twist it, it is the truth) It will happen again, and the little sheep will always follow the shepherd... Not attacking you Bobby, just sayin' #APPLENATION
Curtis
Curtis - March 28, 2013 at 4:20pm
Blackberry changed the face of communications long before the iPhone came along and Nokia did so long before that even. Every dog has his day. When that day comes and goes, it's a day for another dog. Apple is not invincible as has been shown clearly over the past year. Companies don't innovate, innovators do. There will come a phone or a technology that will eliminate or nearly cripple Apple from the cellular game. It's just a matter of time. Right now I have a iPhone. When that day comes, I will switch phones because I don't give a rats ass about Apple. I just want a great phone. Whoever makes it.
DavidG
DavidG - March 28, 2013 at 2:22pm
I love it!!! They just patented it so I doubt it can be copied so easily. This is why there is a patent. I'm sure they'll make some similar imitation though. I can't wait. Talk about innovation!! Steve Jobs trained them well.
Anthony
Anthony - March 28, 2013 at 2:14pm
....... I Love It! I love it! I love it #APPLENATION!!!!! *** Now lets see how fast Scamscum and Scroogle will take to follow the leader *** HAHAHA!!!! #APPLENATION!!!!
matrixmaniac
matrixmaniac - March 28, 2013 at 2:01pm
Ha! Display all around would be cool if it comes with a battery that allows always-on: Then it could change the color as the owner want's... I would develop an app that matches the phone color to what you wear! That would make me rich!!
Recent. Read the latest Apple News.
RECENT
Tutorials. Help is here.
TUTORIALS
Where to Download macOS Sequoia
Where to Download macOS Sonoma
AppleTV Firmware Download Locations
Where To Download iPad Firmware Files From
Where To Download iPhone Firmware Files From
Deals. Save on Apple devices and accessories.
DEALS