May 14, 2026
Apple to Unveil Second Generation Apple Pencil That Magnetically Attaches to iPad? [Rumor]

Apple to Unveil Second Generation Apple Pencil That Magnetically Attaches to iPad? [Rumor]

Posted January 18, 2017 at 8:25pm by
Apple is rumored to be working on a second generation Apple Pencil which would magnetically attach to the iPad.

According to information from suppliers in China, Apple is planning to unveil the Apple Pencil 2 at a press event this spring which will also see the launch of new iPads. The Apple Pencil will also allegedly feature a clip that lets it attach to your shirt pocket.


News should be in accordance with the patent, which Apple acquired in September last year when you can attach a pencil to iPad using the magnet like him attach the original Apple iPad Smart Case covers the display. Another new feature is the clip then you have ordinary pens and you will also be able to thanks to pin on his shirt pocket and stuff like that, just like with a regular pen.

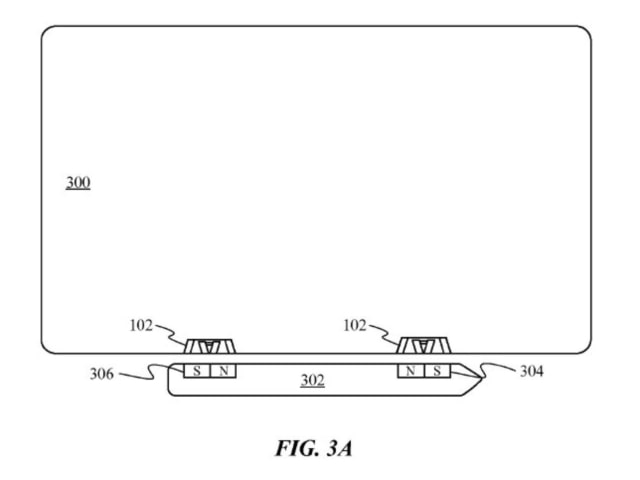
The patent being referred is application PCT/US2016/022803. This patent details a 'Dynamically stabilized magnetic array' which describes embodiments that relate generally to magnetic attachment features. One of the figures (see below) appears to show a pencil attached to iPad via a magnetic array.

Apple will purportedly debut three new iPads this year including a high-end 10 to 10.5-inch model with a narrow bezel. Please follow iClarified on Twitter, Facebook, or RSS for updates.

[via letemsvetemapplem] [via Elon]


Apple to Unveil Second Generation Apple Pencil That Magnetically Attaches to iPad? [Rumor]
Add Comment
Would you like to be notified when someone replies or adds a new comment?
Yes (All Threads)
Yes (This Thread Only)
No
iClarified Icon
Notifications
Would you like to be notified when we post a new Apple news article or tutorial?
Yes
No
Comments (2)
Comments are closed for this article.
LilOne
LilOne - January 19, 2017 at 5:51pm
If something patented now it doesn't mean it is come soon it means it is coming after 5 or 10 years of it is generations lol
RWR
RWR - January 19, 2017 at 1:10am
They can't be thinking of that a year later.
Recent. Read the latest Apple News.
RECENT
Tutorials. Help is here.
TUTORIALS
Where to Download macOS Sequoia
Where to Download macOS Sonoma
AppleTV Firmware Download Locations
Where To Download iPad Firmware Files From
Where To Download iPhone Firmware Files From
Deals. Save on Apple devices and accessories.
DEALS