December 5, 2025
Future Apple EarBuds Could Use Sensors to Detect Users' Ear, Controlling Noise Cancellation and Music Playback

Future Apple EarBuds Could Use Sensors to Detect Users' Ear, Controlling Noise Cancellation and Music Playback

Posted May 29, 2014 at 3:38pm by iClarified
Apple's has a couple of patents (via AppleInsider) that were revealed today that could reduce the power consumption of noise cancelling earbuds -- which could detect a user's ear and stop playing music automatically. Essentially, sensors in the earbuds can provide more efficient use of the power-hungry features on your iPhone or the earbuds themselves.

One patent focuses on turning the noise-cancellation feature on or off, depending if the earbuds are in your ear. It would uses capacitive touch sensors, accelerometers, force sensor, and more. The other patent uses the same sensors, but this time will play/pause the music depending on if they're in your ear or not.

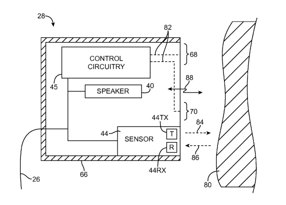
An electronic device may be coupled to an accessory such as a pair of earphones. The earphones may have noise cancellation features that may be implemented using noise cancellation circuitry in the earphones or in the electronic device. The earphones may have ear presence sensor structures that determine whether speakers in the earphones are present at the ears of a user. In one suitable embodiment, control circuitry in the earphones may be used to adjust noise cancellation circuitry in the earphones based on information from the ear presence sensor structures. For example, the control circuitry may deactivate noise cancellation circuitry in response to receiving information from the ear presence sensor structures indicating that the earphones have been removed from a user's ears. In another suitable embodiment, control circuitry in the electronic device may adjust noise cancellation circuitry in the electronic device based on information from the ear presence sensor structures.


An electronic device may play audio content to a user through a pair of earphones. The audio content may be content that is stored locally on the electronic device or may be streaming content that is provided by an online service. Control circuitry in the electronic device may monitor ear presence sensor structures in the earphones to determine whether the earphones are present in the ears of the user. In response to determining that the earphones have been removed from the ears of the user, the control circuitry may communicate with the online service provider. Communicating with the online service provider may include sending media streaming control commands to the online service provider. The media streaming control commands may, for example, include media streaming pause commands that instruct the online service provider to pause the audio content in response to the earphones being removed from the ears of the user.


The patent describes two types of noise-cancellation -- one powered by the earbuds themselves and another that would use the attached device's processor. As usual, we usually don't see all of Apple's patents make it in to future products -- but the latest filing is interesting given that the company has just acquired Beats.

[Patent 1] [Patent 2]

Future Apple EarBuds Could Use Sensors to Detect Users' Ear, Controlling Noise Cancellation and Music Playback


Future Apple EarBuds Could Use Sensors to Detect Users' Ear, Controlling Noise Cancellation and Music Playback
Add Comment
Would you like to be notified when someone replies or adds a new comment?
Yes (All Threads)
Yes (This Thread Only)
No
iClarified Icon
Notifications
Would you like to be notified when we post a new Apple news article or tutorial?
Yes
No
Comments (4)
You must login or register to add a comment...
swagmaster
swagmaster - May 29, 2014 at 6:07pm
man if the earphones would stop playing music on one ear phone once you took it out of your ear that would be so cool since i only use 1 most of the time but theres times when i use both and having that as a option would be great
LudaChris
LudaChris - May 29, 2014 at 4:13pm
never mind adding useless features to the earbuds, which will cost more. Try putting better batteries in devices.
gamerscul9870
gamerscul9870 - May 29, 2014 at 4:17pm
So you're telling me the ear detection to stop playing music is useless? what if our hands work and couldn't use the remote? Besides there is a better battery, this is why they now work on these.
gamerscul9870
gamerscul9870 - May 29, 2014 at 4:05pm
Now samshit has even more to copy than just resembling these.
Recent. Read the latest Apple News.
RECENT
Tutorials. Help is here.
TUTORIALS
Where to Download macOS Sequoia
Where to Download macOS Sonoma
AppleTV Firmware Download Locations
Where To Download iPad Firmware Files From
Where To Download iPhone Firmware Files From
Deals. Save on Apple devices and accessories.
DEALS