December 8, 2025
Apple Granted Patent for Temperature Sensing System Ahead of Apple Watch Series 8

Apple Granted Patent for Temperature Sensing System Ahead of Apple Watch Series 8

Posted August 10, 2022 at 5:39pm by iClarified
Apple has been granted a patent for 'temperature gradient sensing in portable electronic devices' ahead of the release of its next generation Apple Watch Series 8. Notably, a key feature of the upcoming smartwatch is rumored to be body temperature sensing capabilities.

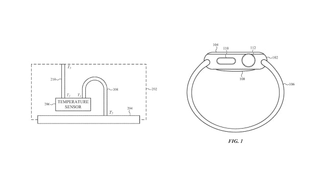
The patent, filed July 21, 2020 and granted yesterday August 9, 2022, describes an electronic device housing that encloses a temperature sensing system including a temperature sensor and a differential temperature probe.

While Apple repeatedly states that its invention could apply to various electronic devices, it does include a smartwatch in its submitted figures and outlines how the system could work in a wearable device.


-----
The wearable electronic device 100 may be configured to collect one or more biometric data from a user/wearer of the wearable electronic device 100 by leveraging one or more sensors enclosed in an internal volume defined by the housing 102. For example, in some embodiments, the wearable electronic device 100 may be configured to leverage a temperature sensing system (not shown) to detect an absolute temperature of a back crystal 108 that contacts the user's skin. In other examples, the wearable electronic device 100 may include a temperature sensing system to detect or quantify an absolute temperature of an input component that may be touched by a user, such as the linear input component 110 or the rotational input component 112. In either case, a rise in temperature of the input component, as detected by a temperature sensing system as described herein can be received as an input to the wearable electronic device 100 which, in response, can perform a function or task.

For example, temperature information can be leveraged by the wearable electronic device 100 for, without limitation: calibrating an internal sensor or subsystem of the wearable electronic device 100; monitoring a temperature of a processor of the wearable electronic device 100; changing a clock speed of a processor of the wearable electronic device 100; changing a write speed or read speed of a working memory of the wearable electronic device 100; adjusting a display brightness based on a temperature of the display 104; performing health or fitness analysis in response to a temperature of the back crystal 108; providing a health or fitness recommendation in response to a temperature of the back crystal 108 exceeding a threshold; detecting a particular material type based on a temperature of the band 106 (or a difference between a temperature of the band 106 and the housing 102); determining a health risk to the user based on a temperature of the housing 102 as compared to a temperature of the back crystal 108; estimate a user's basal body temperature (or skin temperature or other body temperature) based on a temperature of the back crystal 108; estimate a user's basal body temperature (or skin temperature or other body temperature) based on a known or predicted temperature gradient between the housing 102 and the user's skin; measuring or estimating a user's interior wrist temperature by determining a gradient between an external surface of the housing 102 and the user's wrist; estimating a second user's basal body temperature (or skin temperature or other body temperature) based by placing a portion of the housing 102 (e.g., a front crystal) on the second person's forehead, ear, or other body part; and so on. It may be appreciated that these examples are not exhaustive; the wearable electronic device 100 may be configured to leverage absolute temperature measurements in a number of suitable ways.
-----

We anticipate the new Apple Watch Series 8 will debut alongside Apple's new iPhone 14 models next month. Please download the iClarified app or follow iClarified on Twitter, Facebook, YouTube, and RSS for more updates.

Read More [via MacRumors]



Apple Granted Patent for Temperature Sensing System Ahead of Apple Watch Series 8
Add Comment
Would you like to be notified when someone replies or adds a new comment?
Yes (All Threads)
Yes (This Thread Only)
No
iClarified Icon
Notifications
Would you like to be notified when we post a new Apple news article or tutorial?
Yes
No
Comments
You must login or register to add a comment...
Recent. Read the latest Apple News.
RECENT
Tutorials. Help is here.
TUTORIALS
Where to Download macOS Sequoia
Where to Download macOS Sonoma
AppleTV Firmware Download Locations
Where To Download iPad Firmware Files From
Where To Download iPhone Firmware Files From
Deals. Save on Apple devices and accessories.
DEALS