
Apple Looking into HD Radio for iPhone and iPod?
Posted June 17, 2010 at 6:20pm by iClarified
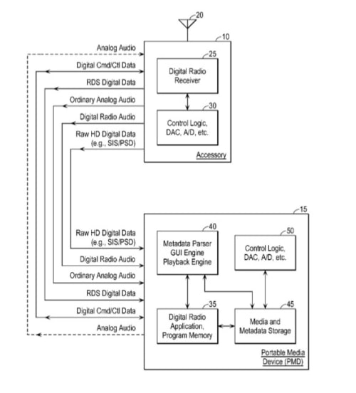
A new patent application from Apple focuses around HD Radio, a wireless radio format which allowed both AM and FM radio stations to simulcast digital and analog audio within the same channel. This patent hints at future handsets from Apple to include HD Radio, allowing users to have a greater flexibility when listening to music on their iPhone or iPod. HD Radio has been rumored for a long time to be incorporated into iPhone and iPods, especially when Apple finally put an FM radio in the most recent iPod nano. With an HD radio on iPods and iPhones, Apple could allow users to tag songs that they here on the radio, which the current iPod nano allows users to do. The iPod competitor, Zune, (Microsoft) featured HD Radio, which was a heavily advertised feature when the product made its debut.
Entitled "Digital Radio Tagging Using an RF Tuner Accessory," the application states that users could use a handheld device to scan all stations, or only for stations delivering high-quality digital audio content. Collecting a list of digital stations and the accompanying "raw digital data" broadcast with them would allow users to scan and search stations based on the content that is currently playing, or a number of other factors included in the data.
Read More

![Apple Execs and AI Engineers Defect to Rivals, Challenging iPhone Dominance [Report] Apple Execs and AI Engineers Defect to Rivals, Challenging iPhone Dominance [Report]](/images/news/99257/99257/99257-160.jpg)



![Apple Seeds tvOS 26.2 Release Candidate 2 to Developers [Download] Apple Seeds tvOS 26.2 Release Candidate 2 to Developers [Download]](/images/news/99251/99251/99251-160.jpg)





![Final Cyber Monday Deals: M4 MacBook Air for $749, Beats, Sonos, and More [List] Final Cyber Monday Deals: M4 MacBook Air for $749, Beats, Sonos, and More [List]](/images/news/99203/99203/99203-160.jpg)
![iPad mini 7 Falls to New All-Time Low of $349 [Cyber Monday 2025] iPad mini 7 Falls to New All-Time Low of $349 [Cyber Monday 2025]](/images/news/99197/99197/99197-160.jpg)
![Apple Watch Series 11 Drops to New All-Time Low Price of $329 [Cyber Monday 2025] Apple Watch Series 11 Drops to New All-Time Low Price of $329 [Cyber Monday 2025]](/images/news/99195/99195/99195-160.jpg)

![Apple Watch Ultra 3 Drops to New All-Time Low of $679 [Deal] Apple Watch Ultra 3 Drops to New All-Time Low of $679 [Deal]](/images/news/99189/99189/99189-160.jpg)