December 5, 2025
Apple Investigating Use of Air to Provide Tactile Keyboard Feedback

Apple Investigating Use of Air to Provide Tactile Keyboard Feedback

Posted May 12, 2011 at 11:19am by iClarified
Apple has filed a new patent application which uses air to provide tactile keyboard feedback to users.

The filing notes that many computing devices have become smaller and thinner (lower-profile) relative to prior counterpart devices. As a result, input devices associated with those devices, such as keyboards and key pads, have also become correspondingly smaller and lower-profile. These low profile keys have reduced travel compared to more conventionally sized devices which reduces the tactile feedback experienced by the user.

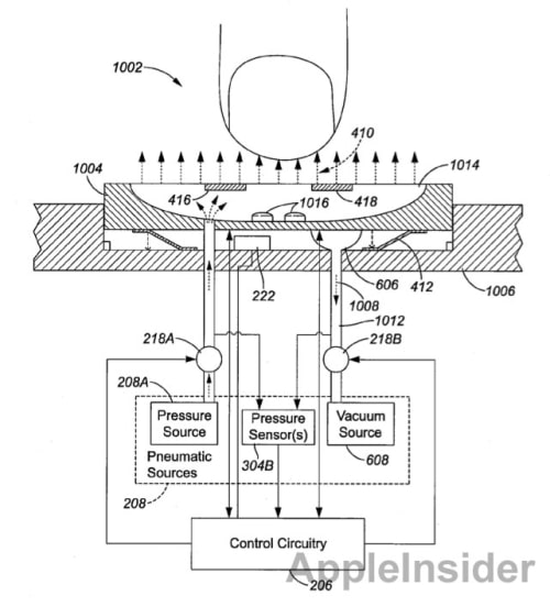
One Apple solution is to use proximity sensors to determine when your finger gets close to a key and shoot air out from the key towards your finger to provide tactile feedback.


One example of changed tactile feedback as described herein includes providing feedback to a user before actual contact with the key. That may be done by detecting the proximity of a user to a key of the input device that suggests an imminent user actuation of the key, and in response to detected proximity, to flow air from the input device proximate the key in question (such as, for example, through openings in a key surface, or through openings adjacent the key assembly), to provide tactile feedback to the user before physical contact with the key surface. In some cases, the air pressure may be applied in a manner to oppose motion of the user toward the key surface.

Another solution is to use pneumatics to pull the key away from a user's touch.

Other described embodiments include detecting user selection of a key and controlling movement of at least a contact surface of the selected key in response to the user selection. In one example, a pneumatic system will be used to advance the selected key in a direction of actuation in response to detecting user selection. The key is thus pneumatically pulled away from the user.

Apple even suggests that both these systems could be used in combination.


Both of these described systems may be used in combination, providing initial air resistance to movement, and then withdrawing the key from the user's touch.

Read More [via AppleInsider]


Apple Investigating Use of Air to Provide Tactile Keyboard Feedback

Apple Investigating Use of Air to Provide Tactile Keyboard Feedback
Add Comment
Would you like to be notified when someone replies or adds a new comment?
Yes (All Threads)
Yes (This Thread Only)
No
iClarified Icon
Notifications
Would you like to be notified when we post a new Apple news article or tutorial?
Yes
No
Comments (2)
You must login or register to add a comment...
Syd
Syd - May 12, 2011 at 2:33pm
Great now keyboards will need maintenance and upgrades ... Arn't they going to disappear anyway?
Trev
Trev - May 12, 2011 at 12:02pm
I've seen some silly ideas before, but this one tops many others. This sounds very prone to issues (complex system problems, plugging, ect). I can't say that i'd even be willing to try this product. Go back and try again
Recent. Read the latest Apple News.
RECENT
Tutorials. Help is here.
TUTORIALS
Where to Download macOS Sequoia
Where to Download macOS Sonoma
AppleTV Firmware Download Locations
Where To Download iPad Firmware Files From
Where To Download iPhone Firmware Files From
Deals. Save on Apple devices and accessories.
DEALS