March 11, 2026
iPhone To Get Always On Status Indicators?

iPhone To Get Always On Status Indicators?

Posted November 20, 2008 at 11:03am by
Apple is working on icon-like status indicators for the iPhone's display which will show even when the screen is off, according to an AppleInsider report.

The Cupertino-based electronics maker notes that a traditional way of conserving energy on handheld devices is to turn off a display when the user does not need or want to view media. However, this approach may make it difficult or impossible for a user to determine the status of the device or identify any pending notifications without first having to turn the unit on.


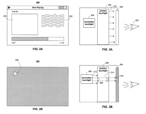
To address the problem, Apple proposes the implementation of a dual backlight system, where a secondary, low-power backlight system would be positioned behind the primary backlight system. The always-on light provided by the secondary backlight system could then be projected through one or more transparent or semitransparent regions of the primary backlight system to reach the display even when the primary backlight is turned off.


"The primary backlight system may block light from the secondary backlight system except for those one or more regions," the filing explains. "Thus, the size and shape of the status indicator may be set by sizing and shaping the transparent or semitransparent regions of the primary backlight system. In addition to setting the size and shape of the icon, the color of the icon may also be set by adjusting the color of the light provided by the secondary backlight system."

Read More

iPhone To Get Always On Status Indicators?
Add Comment
Would you like to be notified when someone replies or adds a new comment?
Yes (All Threads)
Yes (This Thread Only)
No
iClarified Icon
Notifications
Would you like to be notified when we post a new Apple news article or tutorial?
Yes
No
Recent. Read the latest Apple News.
RECENT
Tutorials. Help is here.
TUTORIALS
Where to Download macOS Sequoia
Where to Download macOS Sonoma
AppleTV Firmware Download Locations
Where To Download iPad Firmware Files From
Where To Download iPhone Firmware Files From
Deals. Save on Apple devices and accessories.
DEALS