December 11, 2025
Apple Working On 3D Desktop?

Apple Working On 3D Desktop?

Posted December 11, 2008 at 5:20pm by iClarified
A newly published patent reveals that Apple may be working on a multidimensional desktop graphical user interface, according to MacRumors.

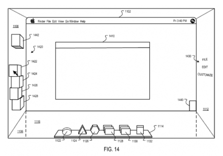
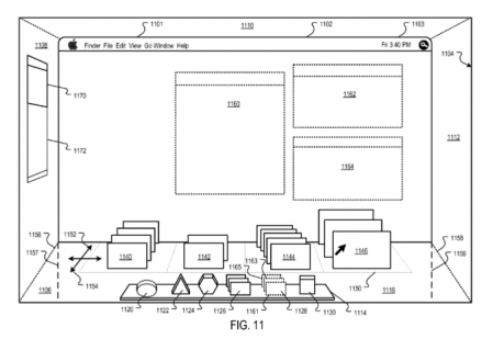
The multidimensional desktop environment would work alongside with what Apple describes as a multidimensional application environment. Windows could be dragged or displaced across multiple surfaces. Each surface could have its own characteristics and cause icons or windows to display different information.

For example, on the bottom surface, icons and other system object representations can be displayed according to a large scale; on the side surface, icons and system object representations can be displayed according to small scale; on the back surface, icons and other system object representations can be displayed in a list format


Read More

Apple Working On 3D Desktop?

Apple Working On 3D Desktop?

Apple Working On 3D Desktop?


Add Comment
Would you like to be notified when someone replies or adds a new comment?
Yes (All Threads)
Yes (This Thread Only)
No
iClarified Icon
Notifications
Would you like to be notified when we post a new Apple news article or tutorial?
Yes
No
Comments (1)
You must login or register to add a comment...
ketanitem
ketanitem - December 13, 2008 at 2:37am
Very cool!
Recent. Read the latest Apple News.
RECENT
Tutorials. Help is here.
TUTORIALS
Where to Download macOS Sequoia
Where to Download macOS Sonoma
AppleTV Firmware Download Locations
Where To Download iPad Firmware Files From
Where To Download iPhone Firmware Files From
Deals. Save on Apple devices and accessories.
DEALS