March 25, 2026
Apple Files Patent for EarPods With Built-In Accelerometer for Noise Suppression

Apple Files Patent for EarPods With Built-In Accelerometer for Noise Suppression

Posted April 3, 2014 at 7:07pm by
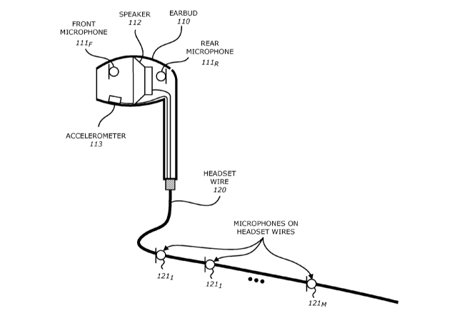
Apple has filed a patent detailing the use of signals from an accelerometer embedded inside an earbud to detect a user's voice activity. This information, in conjunction with the data from the wired microphone, would allow for improved noise suppression.

The patent entitled, 'SYSTEM AND METHOD OF DETECTING A USER'S VOICE ACTIVITY USING AN ACCELEROMETER' notes that "a common complaint with these hands-free modes of operation is that the speech captured by the microphone port or the headset includes environmental noise such as secondary speakers in the background or other background noises. This environmental noise often renders the user's speech unintelligible and thus, degrades the quality of the voice communication."


Being placed in the user's ear canal, the accelerometer may detect speech caused by the vibrations of the user's vocal chords. Using these signals from the accelerometer in combination with the acoustic signals received by microphones in the earbuds and a microphone array in the headset wire, Apple is able to detect the user's speech. A noise suppressor can take this data and suppress the background audio well emphasizing the detected user's speech signals.

The patent was filed March 15, 2013 and published April 3, 2014.

More details at the link below...

Read More [via AppleInsider]


Apple Files Patent for EarPods With Built-In Accelerometer for Noise Suppression

Apple Files Patent for EarPods With Built-In Accelerometer for Noise Suppression
Add Comment
Would you like to be notified when someone replies or adds a new comment?
Yes (All Threads)
Yes (This Thread Only)
No
iClarified Icon
Notifications
Would you like to be notified when we post a new Apple news article or tutorial?
Yes
No
Comments (5)
Comments are closed for this article.
AaronL
AaronL - April 4, 2014 at 2:49pm
So what is it? Using discreet microphones to invert the waveform of ambience. Good in theory, What IO don't really understand is why they would need microphone pick-ups on the cable itself as people in general tuck this into their clothing.
Dragan
Dragan - April 4, 2014 at 5:30am
Jawbone headset rip-off...
gamerscul9870
gamerscul9870 - April 3, 2014 at 7:56pm
What's with the circled radar on the mic?
Guest
Guest - April 4, 2014 at 8:49pm
Its the radius of how much sound the microphone can acquire while away from it at an astonishing quality.
Szozolawin
Szozolawin - April 3, 2014 at 7:24pm
Well it was only a question of when not if that the rnd team at apple came up with this
Recent. Read the latest Apple News.
RECENT
Tutorials. Help is here.
TUTORIALS
Where to Download macOS Sequoia
Where to Download macOS Sonoma
AppleTV Firmware Download Locations
Where To Download iPad Firmware Files From
Where To Download iPhone Firmware Files From
Deals. Save on Apple devices and accessories.
DEALS