May 14, 2026
Apple Patents Wearable Power Apparatus That Can Be Embedded Within Apple Watch Band [Images]

Apple Patents Wearable Power Apparatus That Can Be Embedded Within Apple Watch Band [Images]

Posted February 2, 2017 at 5:11pm by
Apple has patented a wearable power apparatus that can be attached to or at least partially embedded within the band of an Apple Watch.

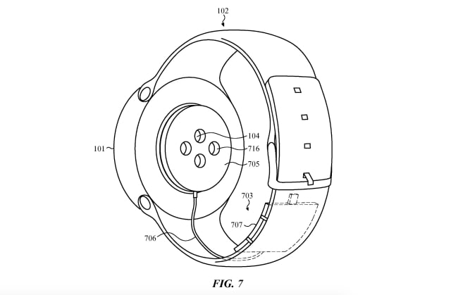
The patent entitled 'CHARGING APPARATUS FOR WEARABLE ELECTRONIC DEVICE' describes wearable power apparatuses for wearable electronic devices.


The present disclosure relates to wearable power apparatuses for wearable electronic devices. A wearable power apparatus for a wearable electronic device may include one or more conductors, one or more batteries connected to the conductor, and/or an inductive coil that attaches to the wearable electronic device to inductively transmit power from the battery to the wearable electronic device, such as while the wearable electronic device is worn. As the power apparatus is wearable, a user may use the power apparatus without removing (and/or while using) the wearable electronic device. The power apparatus may have attachment mechanisms or attachment components that attach to a band coupled to the wearable electronic device. Alternatively or additionally, the power apparatus may be at least partially embedded within the band. The inductive coil may also receive power for the battery from another inductive coil. The battery may include one or more connectors that provide power to (and/or receiving power from) one or more other electronic devices.

Apple depicts an embodiment in which an Apple Watch includes a first inductive coil, a band that couples the body to a wearer, a conductor embedded at least partially within the band, a battery embedded at least partially within the band and electrically connected to the conductor, and a second inductive coil, electrically connected to the conductor and magnetically attachable to the body. The second inductive coil inductively transmits power from the battery to the first inductive coil.

You can see the invention illustrated in the images below. Notably, Apple is using a circular shaped watch in its diagrams.

If you don't already know, there is a secret diagnostic port on the Apple Watch that some have theorized could be used for smart bands in the future.


Hit the link below for more details...

Read More [via AppleInsider]


Apple Patents Wearable Power Apparatus That Can Be Embedded Within Apple Watch Band [Images]

Apple Patents Wearable Power Apparatus That Can Be Embedded Within Apple Watch Band [Images]
Add Comment
Would you like to be notified when someone replies or adds a new comment?
Yes (All Threads)
Yes (This Thread Only)
No
iClarified Icon
Notifications
Would you like to be notified when we post a new Apple news article or tutorial?
Yes
No
Comments (2)
Comments are closed for this article.
Joe
Joe - February 3, 2017 at 7:33am
Battery in a strap: A patent for that?
Guest
Guest - February 2, 2017 at 7:23pm
So basically an add-on battery pack built into a strap.
Recent. Read the latest Apple News.
RECENT
Tutorials. Help is here.
TUTORIALS
Where to Download macOS Sequoia
Where to Download macOS Sonoma
AppleTV Firmware Download Locations
Where To Download iPad Firmware Files From
Where To Download iPhone Firmware Files From
Deals. Save on Apple devices and accessories.
DEALS