February 13, 2026
Is the Surprising Tablet Interface a Dynamic Surface?

Is the Surprising Tablet Interface a Dynamic Surface?

Posted December 24, 2009 at 1:53pm by
Apple's forthcoming tablet could employ a dynamic surface that gives users tactile feedback when typing in order to identify individual keys, reports AppleInsider.

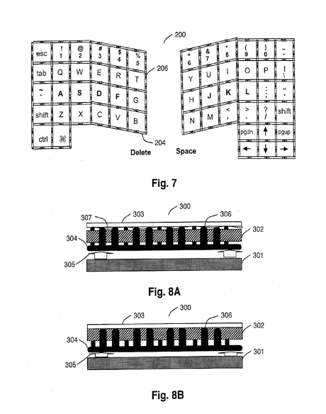
Using an "articulating frame," the surface of such a device would create physical bumps or dots for the user to feel when it is in keyboard mode. Those surface features would retract and disappear when the device is not being used to type. It is detailed in an patent application entitled "Keystroke Tactility Arrangement on a Smooth Touch Surface."


"The articulating frame may provide key edge ridges that define the boundaries of the key regions or may provide tactile feedback mechanisms within the key regions," the application reads. "The articulating frame may also be configured to cause concave depressions similar to mechanical key caps in the surface."

Interestingly, just yesterday the NYTimes released a report which cites a recently departed Apple employee who said, “You will be very surprised how you interact with the new tablet.”

Could this dynamic surface be the surprising tablet interface?

Read More


Is the Surprising Tablet Interface a Dynamic Surface?
Add Comment
Would you like to be notified when someone replies or adds a new comment?
Yes (All Threads)
Yes (This Thread Only)
No
iClarified Icon
Notifications
Would you like to be notified when we post a new Apple news article or tutorial?
Yes
No
Comments (1)
Comments are closed for this article.
Steve Anderson
Steve Anderson - December 24, 2009 at 3:00pm
please no no tactile feedback is so crap look at blackberry storm so shite
Recent. Read the latest Apple News.
RECENT
Tutorials. Help is here.
TUTORIALS
Where to Download macOS Tahoe
Where to Download HomePod Firmware Files From
AppleTV Firmware Download Locations
Where To Download iPad Firmware Files From
Where To Download iPhone Firmware Files From
Deals. Save on Apple devices and accessories.
DEALS