December 9, 2025
Foldable iPhone Prototype Allegedly Features Two Separate Display Panels on a Hinge

Foldable iPhone Prototype Allegedly Features Two Separate Display Panels on a Hinge

Posted June 15, 2020 at 4:52pm by iClarified
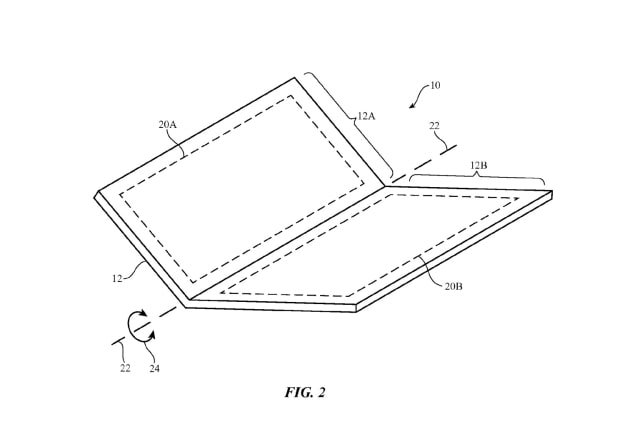
Apple has a foldable iPhone prototype which features two separate display panels on a hinge, according to leaker Jon Prosser.

Apple’s “foldable” iPhone isn’t really a foldable. Face with monocle
The current prototype has two separate display panels on a hinge.
Round, stainless steel edges like current iPhone 11 design.
No notch — tiny forehead on outter display that houses Face ID.


The design appears similar to Microsoft's Surface Duo which was spotted in the wild earlier this year.


"The memes are funny — but it doesn’t look like they just stuck two phones together. Even though they’re two separate panels, when the displays are extended, it looks fairly continuous and seamless," says Prosser.

We haven't heard anything to suggest a foldable iPhone is imminent; however, it's likely that Apple is testing a variety of prototype designs which could make it to market sometime in the future. Please download the iClarified app or follow iClarified on Twitter, Facebook, YouTube, and RSS for updates.


Foldable iPhone Prototype Allegedly Features Two Separate Display Panels on a Hinge
Add Comment
Would you like to be notified when someone replies or adds a new comment?
Yes (All Threads)
Yes (This Thread Only)
No
iClarified Icon
Notifications
Would you like to be notified when we post a new Apple news article or tutorial?
Yes
No
Comments
You must login or register to add a comment...
Recent. Read the latest Apple News.
RECENT
Tutorials. Help is here.
TUTORIALS
Where to Download macOS Sequoia
Where to Download macOS Sonoma
AppleTV Firmware Download Locations
Where To Download iPad Firmware Files From
Where To Download iPhone Firmware Files From
Deals. Save on Apple devices and accessories.
DEALS