December 5, 2025
Apple Granted In-Cell Touchscreen LCD Patent

Apple Granted In-Cell Touchscreen LCD Patent

Posted August 14, 2012 at 6:21pm by iClarified
Apple has been granted a patent that describes methods of integrating touch sensing elements into a LCD.

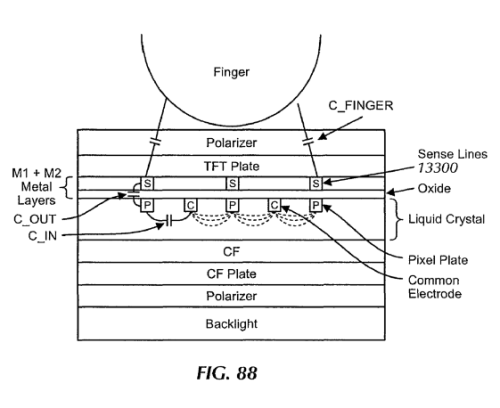
Disclosed herein are liquid-crystal display (LCD) touch screens that integrate the touch sensing elements with the display circuitry. The integration may take a variety of forms. Touch sensing elements can be completely implemented within the LCD stackup but outside the not between the color filter plate and the array plate. Alternatively, some touch sensing elements can be between the color filter and array plates with other touch sensing elements not between the plates. In another alternative, all touch sensing elements can be between the color filter and array plates. The latter alternative can include both conventional and in-plane-switching (IPS) LCDs. In some forms, one or more display structures can also have a touch sensing function. Techniques for manufacturing and operating such displays, as well as various devices embodying such displays are also disclosed.

Apple has long been rumored to be using in-cell touch panels for the next generation iPhone. It's been suggested that these panels could significantly reduce the thickness of the device.


You can read the full patent filing at the link below...

Read More [via AppleInsider]


Apple Granted In-Cell Touchscreen LCD Patent

Apple Granted In-Cell Touchscreen LCD Patent


Apple Granted In-Cell Touchscreen LCD Patent
Add Comment
Would you like to be notified when someone replies or adds a new comment?
Yes (All Threads)
Yes (This Thread Only)
No
iClarified Icon
Notifications
Would you like to be notified when we post a new Apple news article or tutorial?
Yes
No
Comments
You must login or register to add a comment...
Recent. Read the latest Apple News.
RECENT
Tutorials. Help is here.
TUTORIALS
Where to Download macOS Sequoia
Where to Download macOS Sonoma
AppleTV Firmware Download Locations
Where To Download iPad Firmware Files From
Where To Download iPhone Firmware Files From
Deals. Save on Apple devices and accessories.
DEALS