December 5, 2025
Apple Patents Touch ID Remote for TV and Home Automation

Apple Patents Touch ID Remote for TV and Home Automation

Posted July 23, 2015 at 6:39pm by iClarified
Apple has filed a patent for the operation of a remote that uses Touch ID to authorize access to television or home automation functions. The patent entitled, "Electronic Device Operation Using Remote User Biometrics" was filed on January 23, 2014 and published today.

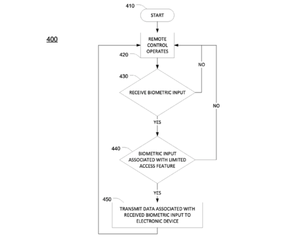
The company notes that electronic devices often include limited access features. For example, a television may require a passcode of a user in order to view particular channels or, in other cases, to turn on the television after or before a certain time of day. In a different example, a thermostat may require a physical key in order to change temperatures or settings. Further, a home security system may require an access code in order to arm or disarm a system.

The access controller could distinguish between candidate users, approved users, and denied users using Touch ID.


The biometric sensor may be included within a portable remote that is in communication with the electronic device the candidate user seeks to operate. For example, the sensor may be included in a remote control for a television or, in other examples, the sensor may be included within a control panel for use with a home automation system. In still further examples, the sensor may be included within a multi-function portable electronic device such as a smart phone, wearable device, health monitor, or other similar device. In each of these and related embodiments, the portable remote may receive biometric data from the biometric sensor which may be compared against template biometric data in order to affirmatively identify a candidate user as an approved user or, in the alternative, to identify the candidate user as a denied user. The template biometric data may be previously recorded or otherwise collected from an authorized user during a training process. For example, the template data may be a previously-measured fingerprint of an authorized user.

Apple's patent is particularly interesting because the company is rumored to be introducing a new Apple TV which could make use of Touch ID for accessing its television and HomeKit features.

Apple's new media device is said to launch late this year. Please follow iClarified on Twitter, Facebook, or RSS for updates.

Read More [via Patently Apple]



Apple Patents Touch ID Remote for TV and Home Automation

Apple Patents Touch ID Remote for TV and Home Automation
Add Comment
Would you like to be notified when someone replies or adds a new comment?
Yes (All Threads)
Yes (This Thread Only)
No
iClarified Icon
Notifications
Would you like to be notified when we post a new Apple news article or tutorial?
Yes
No
Comments
You must login or register to add a comment...
Recent. Read the latest Apple News.
RECENT
Tutorials. Help is here.
TUTORIALS
Where to Download macOS Sequoia
Where to Download macOS Sonoma
AppleTV Firmware Download Locations
Where To Download iPad Firmware Files From
Where To Download iPhone Firmware Files From
Deals. Save on Apple devices and accessories.
DEALS