December 11, 2025
MacBook Pro 3G Prototype Had a 'MagSafe' Antenna

MacBook Pro 3G Prototype Had a 'MagSafe' Antenna

Posted August 16, 2011 at 5:17pm by iClarified
Additional information about the prototype MacBook Pro 3G that was listed on eBay reveals that it has a 'MagSafe' antenna, reports MacRumors.

The seller describes the antenna as "quite tiny" and attributes some of the initial reactions to the bad angle. It is said to protrude about 2" from the display when extended. Most notably, it's actually attached to the MacBook Pro with magnets, and can come off.

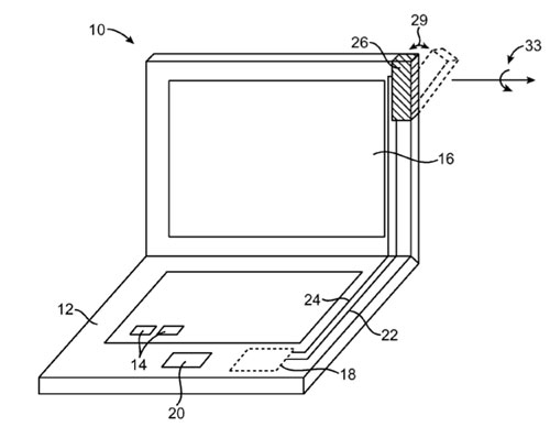
Interestingly, an Apple patent revealed by Patently Apple earlier this year details a very similar MacBook antenna.
MacBook Pro 3G Prototype Had a 'MagSafe' Antenna


The antenna structure may be removable, as shown in patent FIG. 4 above and/or extendable as shown in FIG.1. The antenna structure may be physically but removably coupled to the MacBook so as to allow the antenna structure to be removed without damaging the antenna structure or MacBook. The coupling of antenna structure to the MacBook may facilitate easy replacement of the antenna structure and may facilitate break-away of the antenna structure when a force is applied that could otherwise damage the antenna structure.

After reaching a price of $70,000 the eBay listing for this MacBook was taken down by eBay at the request of Apple. The seller is still waiting for word from Apple or eBay on the matter.

Read More


MacBook Pro 3G Prototype Had a 'MagSafe' Antenna


MacBook Pro 3G Prototype Had a 'MagSafe' Antenna
Add Comment
Would you like to be notified when someone replies or adds a new comment?
Yes (All Threads)
Yes (This Thread Only)
No
iClarified Icon
Notifications
Would you like to be notified when we post a new Apple news article or tutorial?
Yes
No
Comments
You must login or register to add a comment...
Recent. Read the latest Apple News.
RECENT
Tutorials. Help is here.
TUTORIALS
Where to Download macOS Sequoia
Where to Download macOS Sonoma
AppleTV Firmware Download Locations
Where To Download iPad Firmware Files From
Where To Download iPhone Firmware Files From
Deals. Save on Apple devices and accessories.
DEALS