December 8, 2025
Apple Acquires Multi-Touch Patent That Dates Back to 1995

Apple Acquires Multi-Touch Patent That Dates Back to 1995

Posted July 24, 2012 at 7:59pm by iClarified
Apple has acquired another patent from Canadian inventor Timothy R. Pryor which details a 'method for providing human input to a computer', reports Engadget.

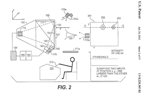
"The patent (filed in July of 2009) is a continuation of one dating all the way back to 1995, and appears to cover some fairly basic multitouch-related functions."

The invention provides a method for providing human input to a computer which allows a user to interact with a display connected to the computer. The method includes the steps of placing a first target on a first portion of the user's body, using an electro-optical sensing means, sensing data related to the location of the first target and data related to the location of a second portion of the user's body, the first and second portions of the user's body being movable relative to each other, providing an output of the electro-optical sensing means to the input of the computer, determining the location of the first target and the location of the second portion of the user's body, and varying the output of the computer to the display based upon the determined locations for contemporaneous viewing by the user.


The full patent filing can be found at the link below. No doubt Apple plans to use the patent as ammunition in its legal battle with competitors.

Read More [via Engadget]


Apple Acquires Multi-Touch Patent That Dates Back to 1995
Add Comment
Would you like to be notified when someone replies or adds a new comment?
Yes (All Threads)
Yes (This Thread Only)
No
iClarified Icon
Notifications
Would you like to be notified when we post a new Apple news article or tutorial?
Yes
No
Comments (2)
You must login or register to add a comment...
WhatAload
WhatAload - July 25, 2012 at 3:40am
Another crap US patent, patenting an idea that never came to fruition and more evidence that crApple does not innovate.
joyz
joyz - July 24, 2012 at 8:15pm
Samsung watch out Apple just acquired an Nuclear Bomb XD
Recent. Read the latest Apple News.
RECENT
Tutorials. Help is here.
TUTORIALS
Where to Download macOS Sequoia
Where to Download macOS Sonoma
AppleTV Firmware Download Locations
Where To Download iPad Firmware Files From
Where To Download iPhone Firmware Files From
Deals. Save on Apple devices and accessories.
DEALS