December 5, 2025
Leaked Photos Reveal New Apple Lightning Cable With Reversible USB Connector?

Leaked Photos Reveal New Apple Lightning Cable With Reversible USB Connector?

Posted August 15, 2014 at 2:24pm by iClarified
Newly leaked photos from Dianxinshouji suggest that Apple may ship the iPhone 6 with a new Lightning cable that features a reversible USB connector.

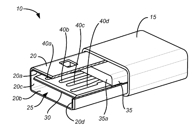
The site posted photos of the new cables that are reportedly from Foxconn. Taking a look at the images below you see a USB connector that is in the middle of the metal casing. Apple's current USB cable has a connector that's attached to the bottom of the metal casing.

Corroborating the report is a patent that Apple filed for a reversible USB connector.


Embodiments can provide reversible or dual orientation USB plug connectors for mating with standard USB receptacle connectors, e.g., a standard Type A USB receptacle connector. Accordingly, the present invention may be compatible with any current or future electronic device that includes a standard USB receptacle connector. USB plug connectors according to the present invention can have a 180 degree symmetrical, double orientation design, which enables the plug connector to be inserted into a corresponding receptacle connector in either of two intuitive orientations.

Apple is also said to be preparing an upgraded lightning connector that would allow high-definiton playback for audio accessories.

Take a look at the photos below!

Read More [via MacRumors]



Leaked Photos Reveal New Apple Lightning Cable With Reversible USB Connector?

Leaked Photos Reveal New Apple Lightning Cable With Reversible USB Connector?

Leaked Photos Reveal New Apple Lightning Cable With Reversible USB Connector?

Leaked Photos Reveal New Apple Lightning Cable With Reversible USB Connector?

Leaked Photos Reveal New Apple Lightning Cable With Reversible USB Connector?
Add Comment
Would you like to be notified when someone replies or adds a new comment?
Yes (All Threads)
Yes (This Thread Only)
No
iClarified Icon
Notifications
Would you like to be notified when we post a new Apple news article or tutorial?
Yes
No
Comments (23)
You must login or register to add a comment...
Mike Power
Mike Power - August 16, 2014 at 2:17am
Another cheap 6" lighting cable, a $900 phone with a $1 cable, yeah very smart. Apple is going down
Mike Power
Mike Power - August 16, 2014 at 2:24am
Never looked at it that way but is true that.
gamerscul9870
gamerscul9870 - August 15, 2014 at 9:56pm
Make it 2 meter then take my money.
BN Bearer
BN Bearer - August 15, 2014 at 6:55pm
Hate to be the bearer of bad news but in order to use the new cable, your device will need the new USB female connector.
gamerscul9870
gamerscul9870 - August 15, 2014 at 6:56pm
Hopefully the current usb drives are replaceable.
Michael Vartan
Michael Vartan - August 15, 2014 at 9:44pm
That actually appears to be fully compatible with current USB connectors.
Nitro Junkie
Nitro Junkie - August 15, 2014 at 11:12pm
I love it when people don't read the whole article and just look at the pictures. They comment and think they're so smart, then they're proven wrong and don't respond back.
Russell
Russell - August 16, 2014 at 2:51am
The article say it MAY be compatible.

"...the present invention may be compatible with any current or future electronic device that includes a standard USB receptacle..."
Khaled
Khaled - August 15, 2014 at 4:44pm
Now you know why apple is the best
gamerscul9870
gamerscul9870 - August 15, 2014 at 4:45pm
Well said.
Mike Power
Mike Power - August 16, 2014 at 2:11am
So why the:Android Market Share Climbs as iOS Market Share Declines
applegeek
applegeek - August 16, 2014 at 3:34am
60% of all android phones sold are under $200 or junk, apple doesn't want that business anyway and samesung's now getting it's copying ass handed to it as the chinese copycats start beating it at its own game. apple's market share will drop, but it still makes 75% of the profit and has by far the most engaged users via web traffic and data usage.
applegeek
applegeek - August 16, 2014 at 3:35am
60% of all android phones sold are under $200 or junk, apple doesn't want that business anyway and samesung's now getting it's copying ass handed to it as the chinese copycats start beating it at its own game. apple's market share will drop, but it still makes 75% of the profit and has by far the most engaged users via web traffic and data/device usage.
Fandroid
Fandroid - August 16, 2014 at 4:35pm
Because those androids are trash, they are being sold to poor people who've never had a 'Smart' phone before. Apple doesn't want that business, android is only picking up people who are buying second and third hand trash-droids.
Fandroid
Fandroid - August 16, 2014 at 4:37pm
Because those androids are trash, they are being sold to poor people who've never had a 'Smart' phone before. Apple doesn't want that business, android is only picking up people who are buying second and third hand trash-droids.
gamerscul9870
gamerscul9870 - August 15, 2014 at 3:36pm
Please do so, I keep having to check to make sure it's in right or else it gets a bit damaged. I hope any usb drive is replacaple in any computer ever built if necessary.
Nitro Junkie
Nitro Junkie - August 15, 2014 at 11:14pm
It's compatible with all current usb outlets. Didn't you read the article.
@Evas10n
@Evas10n - August 15, 2014 at 3:32pm
Great idea, well done Cupertino
gamerscul9870
gamerscul9870 - August 15, 2014 at 2:28pm
Now both sides will have no wrong way in. Thanks to me.
SERIAL PORT
SERIAL PORT - August 15, 2014 at 2:35pm
I will have my revenge!!!!
gamerscul9870
gamerscul9870 - August 15, 2014 at 2:37pm
For what? What did you do I mistakened.
John
John - August 15, 2014 at 3:32pm
Ummm...
Great!
Great! - August 15, 2014 at 3:36pm
Serial Port, what do you think USB stands for?
Recent. Read the latest Apple News.
RECENT
Tutorials. Help is here.
TUTORIALS
Where to Download macOS Sequoia
Where to Download macOS Sonoma
AppleTV Firmware Download Locations
Where To Download iPad Firmware Files From
Where To Download iPhone Firmware Files From
Deals. Save on Apple devices and accessories.
DEALS