February 22, 2026
Apple Patents Detail Stylus Input, Contextual Interface

Apple Patents Detail Stylus Input, Contextual Interface

Posted January 14, 2010 at 12:04pm by
Apple is investigating stylus use on a touch-sensitive panel like the iPhone, and creating dynamic user interfaces for mobile devices, according to an AppleInsider report.

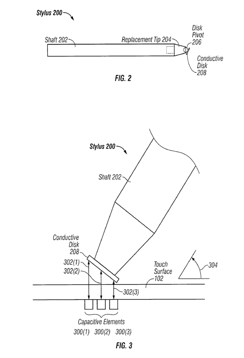
Touch Panel Stylus Input
Currently the iPhone does not support stylus use since its touch panel requires a conductive pointer. Apple's patent suggests that a conductive could be used for a stylus, "A metallic or otherwise conductive disk may be attached to one end of the stylus," the application reads. "The disk may be sized so as to guarantee sufficient electrical interaction with at least one sensory element of the touch sensor panel."


"This additional data can be used for selecting various features in an application executing on the host device (e.g., selecting various colors, brushes, shading, line widths, etc.)," the application reads.

The invention is credited to John G. Elias, co-founder of FingerWorks. The application is titled "Stylus Adapted For Low Resolution Touch Sensor Panels." and submitted on July 11, 2008.
Apple Patents Detail Stylus Input, Contextual Interface

Contextual User Interface for Mobiles
Another patent suggests that future devices could have different user interfaces and input methods based on where the device is located. For example, when at home your device could show a different interface than when you are at work or at the gym.

"Each mode may define different features and content that are customized for a particular mode," the application reads. "Based a selected mode, the media player may provide access to only content, features, hardware, user interface elements, and the like that the user wishes to have access to when the mode is enabled. The media player may provide the user different experiences, looks, and feels for each mode."


"The mode may further specify how applications relevant to the mode may be displayed, such as backgrounds, icons, style information, themes, or other information that provides a visual indicator of the active mode," the document reads.

The application is titled "Multi-Model Modes of One Device," credited to William Bull and Ben Rottler, and was submitted on Sept. 9, 2008.
Apple Patents Detail Stylus Input, Contextual Interface

Read More
Add Comment
Would you like to be notified when someone replies or adds a new comment?
Yes (All Threads)
Yes (This Thread Only)
No
iClarified Icon
Notifications
Would you like to be notified when we post a new Apple news article or tutorial?
Yes
No
Comments (1)
Comments are closed for this article.
fusiform
fusiform - January 16, 2010 at 1:49pm
A stylus came out years ago for the iPhone in China. I've seen people from China using it. It costs 20 RMB (~$3US). And I tried it myself, Apple is probably jacking their design.
Recent. Read the latest Apple News.
RECENT
Tutorials. Help is here.
TUTORIALS
Where to Download macOS Sonoma
Where to Download HomePod Firmware Files From
AppleTV Firmware Download Locations
Where To Download iPad Firmware Files From
Where To Download iPhone Firmware Files From
Deals. Save on Apple devices and accessories.
DEALS