December 5, 2025
Apple Files Patent for Invisible/Disappearing Buttons

Apple Files Patent for Invisible/Disappearing Buttons

Posted April 29, 2010 at 12:16pm by iClarified
A new Apple patent describes a disappearing input space that could be featured anywhere on the aluminum shell of a MacBook Pro. The application was discovered by AppleInsider and is entitled "Disappearing Button or Slider."

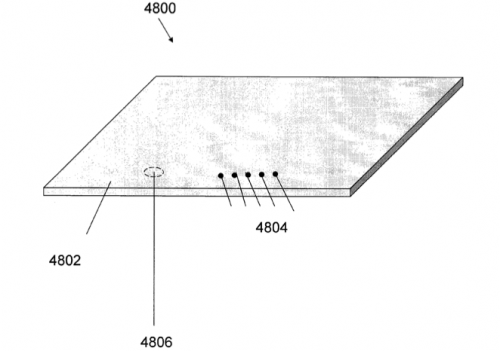
Apple describes a capacitive touch input on the metal frame of a device. The input appears invisible to the user because it would be made of the same material as the housing it is contained in. The use of "invisible" backlit holes could make the input selectively visible or invisible for the user.

"Taken to its extreme, seamless design would have an invisible input," the application reads. "Since a metal housing is advantageous for aesthetic, environmental, and manufacturing reasons, this presents a particular challenge. One method to overcome this challenge is to include a plastic input painted to look like metal. However, this will not match the metal look and finish exactly, so the truly seamless design is not realized."


Apple's solution is to make micro-perforated holes in the metal housing. These holes would be invisible to the naked eye but allow light to travel through when activated. Under the metal surface a capacitor would register your touch.

Read More


Apple Files Patent for Invisible/Disappearing Buttons

Apple Files Patent for Invisible/Disappearing Buttons


Add Comment
Would you like to be notified when someone replies or adds a new comment?
Yes (All Threads)
Yes (This Thread Only)
No
iClarified Icon
Notifications
Would you like to be notified when we post a new Apple news article or tutorial?
Yes
No
Comments
You must login or register to add a comment...
Recent. Read the latest Apple News.
RECENT
Tutorials. Help is here.
TUTORIALS
Where to Download macOS Sequoia
Where to Download macOS Sonoma
AppleTV Firmware Download Locations
Where To Download iPad Firmware Files From
Where To Download iPhone Firmware Files From
Deals. Save on Apple devices and accessories.
DEALS