May 13, 2026
iPhone 5S Fingerprint Scanner Could Be Built Into the Display

iPhone 5S Fingerprint Scanner Could Be Built Into the Display

Posted July 18, 2013 at 3:14pm by
A new Apple patent filing suggests that the rumored fingerprint scanner for the iPhone 5S could be built into the display.

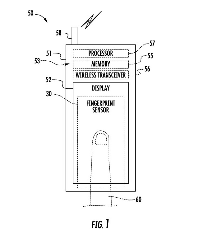
When using a semiconductor fingerprint sensor, or integrated circuit fingerprint sensor, in a portable electronic device, for example, a mobile telephone, it may be desirable to locate the integrated circuit of the fingerprint sensor separately from the finger sensing region. Separating the finger sensing integrated circuit (IC) from the finger sensing area may be particularly advantageous when the finger sensing area is relatively thin and transparent so that it may be placed over the top of a display of the portable electronic device, and wherein the IC may be located in a nearby non-display region of the portable electronic device.


The patent itself is for a fingerprint sensor that generates a finger measurement with reduced noise.

It is therefore an object of the present invention to provide a finger sensor that can generate a reduced noise finger measurement from a finger, for example, positioned in a finger sensing area at a relatively large distance from the finger sensing integrated circuit.

Many believe Apple will offer fingerprint scanning in the next iPhone aided by its acquisition of AuthenTec.

Read More [via PatentlyApple]


iPhone 5S Fingerprint Scanner Could Be Built Into the Display
Add Comment
Would you like to be notified when someone replies or adds a new comment?
Yes (All Threads)
Yes (This Thread Only)
No
iClarified Icon
Notifications
Would you like to be notified when we post a new Apple news article or tutorial?
Yes
No
Comments (5)
Comments are closed for this article.
gamerscul9870
gamerscul9870 - July 20, 2013 at 3:47pm
2 words, more secure.
jahmed80
jahmed80 - July 20, 2013 at 1:15am
I think it will be a big privacy, security issue. Anyone can hack your fingerprint and can do bad things with it...
Guest
Guest - July 18, 2013 at 11:26pm
multiple finger profiles
AppleGuy299
AppleGuy299 - July 18, 2013 at 6:33pm
So where would it be if it wasn't built into the display????
6italia0
6italia0 - July 18, 2013 at 3:18pm
I have a 5S then, oh wait nevermind its just the fingerprint app lol
Recent. Read the latest Apple News.
RECENT
Tutorials. Help is here.
TUTORIALS
Where to Download macOS Sequoia
Where to Download macOS Sonoma
AppleTV Firmware Download Locations
Where To Download iPad Firmware Files From
Where To Download iPhone Firmware Files From
Deals. Save on Apple devices and accessories.
DEALS